Hinge Boring Options (Hinge Holes)
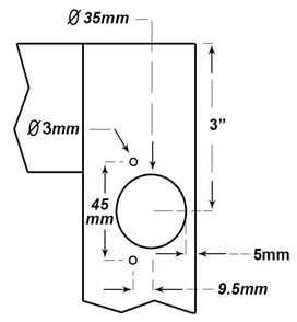
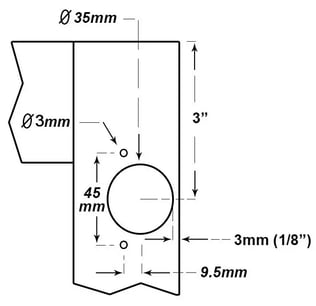
Our standard hole placement for hinge holes is 3" from the top and bottom edge of the cabinet door.
The standard depth for hinge boring is 13mm. We do not offer custom hinge boring depths.
The minimum stile width required to add hinge boring is 1-3/4" for all doors except for the Bar Harbor, which can accommodate hinge boring with it's standard 1" stile.
The minimum stile width required to add hinge boring is 2-1/4" for all glass doors.
Hinge boring is never included on panels or drawer fronts.
The table below outlines our standard hinge hole placements based on cabinet door height.
| Door Height | # of holes | Hole Placement - MDF | Hole Placement - Wood |
| Less than 9" | 0 | N/A | N/A |
| 9" to 39" | 2 | 3" from top and bottom edge | 3" from top and bottom edge |
| 39-1/6" to 60" | 3 | 3" from top and bottom edge with 1 hole centered | 3" from top and bottom edge with 1 hole centered |
| 60-1/16" to 80" | 4 | 3" from top and bottom edge with holes evenly spaced | 3" from top and bottom edge with 2 holes 22" from each end |
| Greater than 80" | 5 | 3" from top and bottom edge with holes evenly spaced | 3" from top and bottom edge with 2 holes at 22" from each end and 1 hole centered |
Eagle Woodworking offers the following standard hinge boring options:
|
|
|
A-03 cup only 3mm tab distance (1/8") |
A-05 cup only 5mm tab distance (3/16") |
|
|
|
B-03 cup & dowell 3mm tab distance (1/8") |
B-05 cup & dowell 5mm tab distance (3/16") |
Cabinet Door Hinge Sides
If requesting hinge boring on a specific side of the door (left or right), please specify 'left' or 'right' as you face the front of the door.

Ordering Online is Easy
You can order custom drawers and doors directly through our online form. Simply put in your information, add any necessary details — like a job number —, select your delivery option, and then choose specifics like wood species and thickness. If it sounds simple, that’s because it is.

